by Albert Secreto | May 1, 2024 | Tecnología

Las próximas gafas para porno en realidad virtual de Meta utilizarán procesadores Qualcomm. Las dos empresas colaborarán para desarrollar chips personalizados que alimentarán varias generaciones de gafas Meta Quest.
Meta y Qualcomm anuncian una asociación estratégica este 2 de septiembre durante IFA, una importante exposición de electrónica alemana. Se trata de un acuerdo de colaboración de varios años para crear un System-on-a-Chip (SoC) personalizado para la realidad virtual y, más específicamente, la línea de dispositivos Quest. Garantiza que estos chips impulsarán «múltiples generaciones de dispositivos y experiencias premium».
«Estamos trabajando con Qualcomm en chips de realidad virtual personalizados, basados en la plataforma Snapdragon XR, para nuestros futuros productos Quest», dijo en el comunicado el director ejecutivo de Meta, Mark Zuckerberg. A medida que la realidad virtual y aumentada se vuelve más avanzada, se vuelve más importante construir productos especializados. tecnologías para impulsar nuestras futuras gafas de realidad virtual y otros dispositivos».
Socios desde hace mucho tiempo
Este acuerdo no es sorprendente. Los dos socios ya mantenían una relación estrecha y exitosa, trabajando juntos durante siete años. Las gafas todo en uno de Meta siempre han utilizado chips Qualcomm hasta ahora, desde Oculus Go hasta el próximo Quest Pro, cuyo lanzamiento está previsto para octubre.
Meta es actualmente líder en el mercado de la realidad virtual gracias a Quest 2, pero sus verdaderos competidores aún no han aparecido. La competencia de Apple en particular, cuyos chips diseñados internamente tienen un rendimiento notable, no debe tomarse a la ligera.

Una alianza para luchar contra Apple
Y si Qualcomm ha conseguido posicionarse en el centro del rendimiento del chip.
Cabe recordar que la empresa de Mark Zuckerberg también ha explorado la posibilidad de diseñar sus propios chips dedicados a XR. Entre otros, en 2020 reclutó a Hiren Bhinde, quien anteriormente fue responsable del Snapdragon XR2 en Qualcomm. Es probable que estos equipos trabajen en estrecha colaboración con los de Qualcomm en el futuro.
Tenga en cuenta también que, aunque no se mencionan explícitamente las gafas de realidad aumentada, también es muy probable una colaboración en este ámbito.
by Albert Secreto | Abr 28, 2024 | Tecnología

Con una gafa de realidad virtual, una sesión de vídeo pornográfico es más que simplemente mirar en la pantalla. Gracias a las imágenes de 360° y otras funciones como los teledildonics, te sumerges en un entorno virtual muy realista. En otras palabras, existe una delgada línea entre ver contenido XXX en realidad virtual y sexo real.
El creciente interés que la gente tiene por este tipo de entretenimiento ha hecho que la industria de la pornografía se convierta en una de las mayores áreas de aplicación de la VR. De hecho, hay muchos sitios de pornografía en realidad virtual que te permiten experimentarlo. PlayStation VR es uno de los mejores auriculares compatibles con las plataformas. Pero el uso de estas gafas para porno en realidad virtual es un poco diferente de otros tipos de dispositivos que funcionan con una computadora o un teléfono inteligente. Esto es una obviedad, considerando que funciona con la consola de juegos de Sony.
Ver porno en realidad virtual con unas gafas PlayStation
Aparentemente, los estudios porno que admiten los auriculares PlayStation VR experimentan una tasa de descarga más alta que las plataformas no compatibles. Esto demuestra que muchos usuarios de PS4 no sólo están interesados en los videojuegos. PS VR en realidad te permite experimentar sexo virtual con la consola.
Actualiza la aplicación Media Player
Sony lanzó soporte para videos de 360° con PS Media Player versión 2.50. En primer lugar, debes comprobar que tu solicitud esté actualizada. Para hacer esto, presione el botón Opciones en el DualShock 4 mientras selecciona la aplicación. Luego vaya al Historial de versiones. Si tienes una versión antigua, actualízala.
Además, si aún no has instalado la aplicación, puedes encontrarla en PlayStation Store. Allí normalmente encontrará la última versión disponible.

Buscar y descargar vídeos de un sitio
Para encontrar vídeos para ver en PlayStation VR, debes ir a los sitios. Se requiere una suscripción para acceder a su contenido. Sin embargo, en algunas plataformas encontrarás clips gratuitos que te harán la boca agua.
Pero la PlayStation no tiene un navegador de Internet integrado ni en la consola ni en los auriculares. Por lo tanto, para encontrar un vídeo, debes buscarlo y descargarlo desde tu computadora. Tenga en cuenta que el contenido pornográfico en realidad virtual es muy diferente de los vídeos de los sitios pornográficos normales. En un sitio dedicado a VR XXX, encontrará automáticamente los formatos apropiados. Pero si estás en Pornhub, por ejemplo, asegúrate de estar en la sección VR.
Copiar vídeos a una memoria USB
Ahora, para reproducir los videos descargados, debes transferirlos a una unidad USB. Primero debe formatearse en FAT32 o exFAT. Luego cree una carpeta llamada VIDEO para colocar los archivos. Luego, inserte la unidad en el puerto USB de su PS4. Inicie la aplicación PS Media Player y navegue hasta Biblioteca para buscar la carpeta VIDEO y abrir su contenido.
Cerrar la puerta
Ahora es el momento de encender la PlayStation VR y presionar reproducir para iniciar el video porno. Si la película se muestra en 2D, no te preocupes. Presione el botón Opciones en el controlador y elija el modo 3D VR. Todo lo que tienes que hacer entonces es sentarte en tu cama o sofá y sumergirte en la acción. Pero primero, recuerda cerrar la puerta para asegurarte de que no te molesten ni te pillen masturbándote.
Otra forma de ver porno con PlayStation VR
Existen otras aplicaciones que te permiten ver vídeos pornográficos en realidad virtual con los cascos de realidad virtual de PlayStation. Primero, tienes otra alternativa a PS Media Player. Por otro lado, también existe la posibilidad de ver vídeos directamente en un sitio sin descargarlos.

Utilice la aplicación LittleStar
En lugar de utilizar Media Player, puedes utilizar LittleStar VR Cinema. Si quieres experimentar pornografía virtual de 360°, esta aplicación ofrece una experiencia más inmersiva. Por tanto, la primera condición es favorecer los vídeos en 360° si el sitio los ofrece. Con las películas de 180° la inmersión no puede ser completa ya que tu visión se limita a lo que ves frente a ti.
Sigue los pasos que ya te hemos explicado para descargar los vídeos. Sin embargo, tenga en cuenta que el nombre de cada archivo debe indicar información sobre el vídeo. De hecho, debes cambiar el nombre del vídeo en un formato determinado, por ejemplo videoname_360_sbs.mp4. En algunos sitios, cuando seleccionas la opción de descarga para PS VR, el nombre del archivo sigue automáticamente este formato. Si tiene problemas para leer el archivo, verifique que el nombre esté en el formato correcto.
Luego cópielo al USB que conectará a la consola. Inicie la aplicación LittleStar para acceder a los videos y comenzar a reproducir.
Transmitir pornografía en WatchVR con PlayStation VR
WatchVR es una aplicación que permite a los usuarios transmitir vídeos de 360°. Aunque el streaming no siempre es la mejor opción en términos de calidad, WatchVR ofrece una experiencia fluida y sin interrupciones (sin anuncios).
Sin embargo, tenga en cuenta que la aplicación sólo es compatible con el sitio Virtual Real Porn. Por lo tanto, debes estar suscrito a este sitio para ver transmisión de pornografía en realidad virtual con tus gafas PlayStation.
Para configurar, haga clic en Mi cuenta en el sitio y seleccione Aplicación de transmisión PS VR. Tenga en cuenta la URL que se generará. Una vez que haya instalado WatchVR, inicie la aplicación y toque Agregar. Ingrese la URL que guardó y haga clic en Aceptar. Este enlace lo redireccionará a un canal que contiene todos los videos disponibles para transmisión. Sólo tendrás que elegir uno y posicionarte para vivir la experiencia más emocionante.
¿Qué otros sitios pornográficos de realidad virtual son compatibles con PlayStation VR?
El streaming es una forma de consumir porno virtual sin esperas. Pero la transmisión de vídeos directamente a un sitio no siempre proporciona la mejor experiencia de realidad virtual. Por ejemplo, una mala conexión puede hacer que la reproducción de vídeo se ralentice. No hace falta decir que se trata de tener un orgasmo frente a un vídeo con fallas. En otras palabras, para asegurarse de disfrutar de una calidad impecable, la descarga sigue siendo la mejor opción.
Entonces, si tu elección es descargar los videos antes de verlos, tienes la opción de elegir entre muchas plataformas. Por ejemplo, VRBangers, que es uno de los sitios más premiados, ofrece una gran biblioteca de vídeos para adultos. También es uno de los primeros sitios en ofrecer vídeos de 6K. También está Sex Like Real, que ofrece vídeos igualmente interesantes.
Pero como mencionamos anteriormente, algunos sitios para adultos famosos también tienen una sección de realidad virtual. Este es por ejemplo el caso de Pornhub, imprescindible para la pornografía. La plataforma ofrece contenido gratuito y de pago, pero puedes imaginar que quienes se suscriben tienen derecho a mejor contenido.

¿PlayStation tiene las mejores gafas para porno en realidad virtual?
Desde su lanzamiento en 2016, la PS VR se ha convertido en el visor de realidad virtual más vendido, antes de que llegara el Oculus Quest 2. Pero incluso en segundo lugar, la inclusión de PlayStation VR aumenta la tasa de descarga en sitios de pornografía en realidad virtual en un 30%. Esto demuestra que se trata de una buena gafa para el sexo en realidad virtual.
Además, las gafas de Sony son más asequibles que algunos de sus mayores competidores. Sin embargo, si no tienes una PS4 en casa, comprar la PS VR no tendría sentido.
En cuanto al uso, todo el proceso es bastante complicado. Cuando quieras divertirte, no necesariamente querrás perder el tiempo descargando, cambiando nombres y transfiriendo archivos. Para cuando estés listo para mirar, es posible que te ablandes. Pero si descargas tus vídeos para verlos más tarde, entonces no hay problema.
Finalmente, hablando de visualización e inmersión, puedes estar seguro de que tendrás una buena experiencia con PS VR. La imagen se actualiza 120 veces por segundo y Sony afirma que la tasa de respuesta es de 18 ms. En pocas palabras, el dispositivo es suave.
Entonces, si tienes una PlayStation y quieres experimentar el porno en realidad virtual, realmente no vale la pena gastar mucho dinero con unos auriculares más populares.
by Albert Secreto | Abr 24, 2024 | Tecnología

Las cosas parecen estar saliendo bien para la futura gafa de realidad virtual independiente de Facebook, sucesor de Oculus Quest. Primero fueron las primeras filtraciones reportadas el pasado mes de mayo por Bloomberg; luego, el 15 de julio, el Nikkei afirmó que la compañía californiana estaba a punto de lanzar la producción en masa de una “nueva gafa Oculus VR” a finales de mes. El siguiente paso se dio este fin de semana: desde el pasado viernes (24 de julio), aparecieron en las redes sociales Twitter y Reddit varias imágenes, de múltiples fuentes (y recopiladas por el sitio especializado Upload VR), que muestran la que por el momento vamos a ver. Llámelo «Quest 2» desde varios ángulos, tanto en fotografías como en renderizado 3D.
Estas nuevas imágenes ya revelan información interesante sobre las diferencias y similitudes del nuevo modelo respecto al anterior. Además del nuevo color blanco nieve, notamos sobre todo un sistema de seguimiento de adentro hacia afuera con cuatro cámaras sin cambios, que ya había sido confirmado por información de Bloomberg, y una nueva diadema, más simple que la del primer Quest.
Un nuevo sistema óptico a la vista
Pero los detalles más intrigantes se encuentran en el sistema óptico. La primera novedad es una modificación significativa en el ajuste de la distancia interpupilar (o IPD, por «distancia interpupilar»): las fotos muestran que a diferencia del Quest original, esta nueva gafa ya no tiene ajuste fino. En cambio, Les Numériques ha recibido la confirmación, por parte de una fuente desarrolladora, de que el IPD se puede modificar simplemente deslizando los bloques ópticos “a mano”, que se pueden colocar en tres valores de espaciado diferentes.
Por tanto, este nuevo sistema sería una especie de intermediario entre el Quest, con su ajuste continuo de IPD, y el Rift S, con su IPD fijado en el plástico. Para que conste, el Rift S, con su configuración fija, sólo es «perfectamente» adecuado, según admite el propio Facebook, para personas con un IPD entre 61,5 y 65,5 mm, o alrededor del 45% de la población mundial, personas ubicadas fuera de estos límites. Por supuesto, aún puede utilizar las gafas, pero aun así debe experimentar ligeras distorsiones geométricas y pérdida de nitidez en la periferia de la imagen. Al ofrecer tres posiciones diferentes, el Quest 2 podría aumentar al menos considerablemente el tamaño de esta gama ideal y, por tanto, la proporción de usuarios que pueden utilizar las gafas cómodamente.
Además, también creemos que podemos ver nuevas lentes en las representaciones, con una forma distinta a la de las lentes «Super Libra G» utilizadas por Oculus en todas sus gafas desde Go. En particular, podrían beneficiarse de una mejora en su suavidad. -spot: nombre que designa el área en la que debe ubicarse la pupila del usuario para que la lente proporcione una imagen perfectamente nítida. De esta forma, incluso en ausencia de ajustes, el Quest 2 podría garantizar una calidad de imagen al menos equivalente a la del Quest 1 para la gran mayoría de usuarios. Pero a estas alturas todo esto son especulaciones.

¿Qué se dice de la presentación?
Como recordatorio, la información revelada el pasado mes de mayo por Bloomberg también indicaba la posibilidad de un peso reducido en un 20% y una frecuencia de visualización aumentada de 72 Hz a 90 Hz en comparación con el primer Quest. El periódico económico estadounidense también informó que Facebook estaba preocupado por no poder lanzar sus nuevos auriculares este año como estaba previsto y tener que posponerlo hasta 2021, debido a la actual crisis sanitaria. Pero con las líneas de producción ya en marcha, finalmente parece que Oculus está bien programado para su lanzamiento en otoño.
Además, uno de los filtradores, respondiendo al nombre de WalkingCat en Twitter y conocido por haber superado varias veces los anuncios de las empresas tecnológicas, se tomó la libertad de acompañar una de sus publicaciones con un enigmático «15 de septiembre», que imaginamos será la fecha prevista de anuncio de las gafas porno Meta Quest 2. Obviamente, hay que tomarlo con cautela: incluso si la información es auténtica, los planes de comunicación de Oculus todavía tienen mucho tiempo para evolucionar de aquí a entonces.
by Albert Secreto | Abr 23, 2024 | Tecnología

Han circulado rumores esperanzadores de que una nueva gafa de realidad virtual de Valve podría estar en camino para su lanzamiento en el 2023, pero a partir de diciembre, eso parece bastante improbable. El supuesto próximo Valve Index 2, con nombre en código Deckard, aún no ha sido reconocido por la propia Valve.
Aún así, con el Valve Index original ya lleva cinco años en el mercado, viendo una caída en las ventas y comenzando a sentirse un poco arcaico en comparación con la feroz competencia, frente a Meta y su Quest 3, es plausible esperar que Valve quiera revisar y modernizar sus propios cascos de realidad virtual.
Fecha de lanzamiento de la gafa Valve Index
Con el éxito de Valve con Steam Deck, podríamos especular que la compañía detrás de Half-Life y Portal puede haber alejado demasiado su enfoque de la realidad virtual, como para que esperemos una nueva gafa Index en el corto plazo. Sin embargo, se trata sólo de especulaciones infundadas, por lo que preferimos seguir siendo optimistas.
A diciembre de 2023, Valve ha guardado silencio sobre los anuncios de la fecha de lanzamiento del Valve Index 2, pero los entusiastas fanáticos están comenzando a sospechar que las nuevas gafas para porno en realidad virtual podrían anunciarse y lanzarse este año. Desafortunadamente, actualmente estas también son especulaciones bastante infundadas. Es muy probable que Valve esté mucho más interesado en trabajar en futuros dispositivos Steam Deck en este momento, pero tendremos que esperar y ver si es razonable esperar un Index 2 este año o no.
Después de todo, incluso Apple está a punto de ingresar pronto al mercado de VR/RA con sus gafas Vision Pro. Es posible que Samsung también esté trabajando en algo detrás de escena, afirman los filtradores, y, por supuesto, el rey de la realidad virtual, Meta, está lanzando el Quest 3. Por lo tanto, el mercado de gafas de realidad virtual está todo menos muerto o muriendo, y Valve, en teoría, todavía debería ver el valor potencial que contiene.
El Valve Index original hizo su debut en 2019, y con sus especificaciones ahora quedando atrás de opciones más asequibles como Quest 2 y, lo que es más importante, con Meta Quest 3 ahora en el horizonte, Valve probablemente querrá lanzar un competidor más nuevo. Al menos si todavía se toma tan en serio la realidad virtual como lo era cuando se lanzó Half-Life: Alyx en el 2020; un movimiento grande e inesperado que tenía un objetivo principal: vender el primer Valve Index. Si resucitar la franquicia Half-Life con Alyx no fue un indicio de que Valve cree firmemente en la realidad virtual, ¿qué lo es? Y Alyx ha estado recibiendo algunas actualizaciones fantásticas, agregando cosas que nunca veríamos.
Estén atentos a las actualizaciones tan pronto como las noticias oficiales o las filtraciones nos brinden información sobre una posible fecha de lanzamiento de Valve Index 2.
Precio de la gafa Valve Index
El Valve Index nunca fue la gafa de realidad virtual más asequible que existe, a $ 999 por el kit de realidad virtual completo, y actualmente especulamos que el Valve Index 2 tendrá un precio similar.
Aunque Valve podría dejar de utilizar algunos accesorios ahora arcaicos, como las estaciones base, que en teoría podrían abaratar el paquete de auriculares, las tendencias del mercado en realidad pueden exigir un posible aumento de precios.
Se anunció que el Meta Quest 3, por ejemplo, que es una gafa que definitivamente saldrá a finales de este año, obtendrá un aumento de precio de $ 100 con respecto a su predecesor.
Con eso en mente, si Valve también aumentará el precio de sus próximas gafas o, en cambio, intentará hacerlas más baratas, para que puedan competir con el precio de «alrededor de $ 500» del Quest 3, es una incógnita en este momento.
Otra teoría es que Valve puede lanzar dos gafas: un Valve Index 2 de gama alta y una variante más barata y de gama baja, pero debemos tomar el rumor con cautela.
Diseño de la gafa
No esperamos ningún rediseño importante para Valve Index 2, especulando que la compañía detrás de Steam y Half-Life mantendrá su apariencia elegante y oscura y, lo más notable, la correa frontal rígida e intrincada.
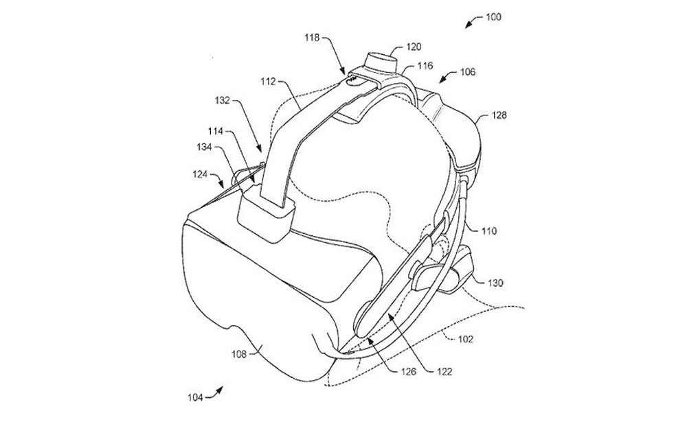
La correa facial en particular podría permanecer exactamente igual que en el primer índice de Valve, al menos a juzgar por la imagen de arriba, que fue tomada de un archivo de solicitud de patente reciente de Valve.
Lo que nos gustaría ver es una correa para la cabeza más ergonómica y compacta, algo más parecido a la Quest 2, pero si Valve va más simple o no aún está en la especulación, como cualquier detalle oficial sobre el diseño y la correa para la cabeza del Valve Index 2. aún no han sido revelados.

Seguimiento de la gafa Valve Index
Mientras hacíamos nuestra reciente comparación entre Meta Quest 2 y Valve Index, llegamos a la conclusión de que el método de seguimiento del Index está empezando a parecer bastante arcaico en 2023, ya que requiere dispositivos de estación base conectados, lo que además de aumentar el lío de cables que tiene el usuario. tratar, incluso hacer un gemido agudo.
Por el contrario, Meta Quest 2 y su próximo sucesor, Quest 3, no requieren ningún hardware de seguimiento especial y pueden funcionar perfectamente con solo usar sus cámaras integradas.
Por lo tanto, especulamos que Valve Index 2 podría ser un gran paso adelante con respecto al original, eliminando finalmente las estaciones base y confiando en sus cámaras para el seguimiento. Tenga en cuenta que todavía son sólo rumores y especulaciones, pero plausibles de todos modos. Si Valve no abandona el uso de estaciones base, sus nuevos auriculares VR simplemente se quedarían atrás de la competencia en términos de facilidad de uso y conveniencia general.
Pantalla de Valve Index 2, IPD, FOV
Esperamos que Valve Index 2 sea un gran paso adelante con respecto al original, ya que usar el Valve Index después del Quest 2 para nuestra reciente comparación de los dos dejó en claro cuán lejos han llegado las gafas de Meta.
El Valve Index original presenta una pantalla LCD con una resolución de 1440 por 1600 píxeles por ojo, y hoy en día no es lo suficientemente nítida, con píxeles visibles y un efecto de puerta mosquitera.
Es probable que Valve quiera igualar o superar la pantalla «casi 4K» del Quest 2, que ofrece 1832 por 1920 píxeles por ojo. Quizás también cambie a la tecnología mini-LED en lugar de LCD, lo que mejoraría tanto la nitidez como los colores de las gafas VR.
Además, aunque el primer Valve Index tiene un campo de visión fantástico de hasta 130 grados, muy por encima de la mayoría de los competidores, Valve podría intentar llegar aún más alto con la segunda iteración del Index.
En cualquier caso, los detalles oficiales los tendremos aquí en cuanto salgan.
Controladores Valve Index 2
Si bien los controladores Valve Index originales son voluminosos y tienen correas complejas y posiblemente innecesarias, en comparación con la competencia, esperamos que Valve los simplifique en términos de diseño, para que sean similares al Quest 2 o HTC Vive.
Algo que nos entusiasma volver es la capacidad de recarga de los controladores, es decir, el hecho de que deberían tener baterías integradas, en lugar de depender de baterías reemplazables.

Funciones y software de Valve Index 2
Con el Quest 2 revolucionando el mercado de las gafas de realidad virtual, se especula que el Valve Index 2 también tendrá la opción de funcionar de forma independiente y de forma inalámbrica. Es importante tener en cuenta que esto no está confirmado y debe tomarse con cautela, pero la teoría tendría sentido.
Si Valve hiciera que el Valve Index 2 fuera capaz de funcionar de forma inalámbrica, y seamos realistas, el primer Index depende de demasiados cables, los auriculares necesitarán tecnología más compleja en su interior. Batería incorporada, almacenamiento y sistema operativo propio, entre otros.
El sistema operativo del Quest 2 está basado en Android, que también es la opción más plausible que podría elegir Valve, si la compañía decide hacer que sus próximas gafas sean igualmente independientes y con la opción de transmitir contenido de realidad virtual para PC directamente a ellos de forma inalámbrica.
¿El Valve Index 2 será independiente e inalámbrico?
Como se mencionó anteriormente, se especula que Valve podría hacer que Valve Index 2 sea independiente, como Meta Quest 2, lo que también le daría la capacidad de funcionar de forma inalámbrica, ya sea mientras ejecuta juegos de realidad virtual basados en Android o juegos de realidad virtual para PC transmitidos desde una computadora a través de Internet.
Sin embargo, esto es sólo una especulación, y aunque parece plausible, y realmente esperamos que sea cierto, Valve aún no lo ha confirmado ni desmentido, así que estad atentos a la información oficial tan pronto como la tengamos.
¿El Valve Index 2 utilizará estaciones base para el seguimiento?
Otra teoría es que Valve Index 2 eliminará el requisito de configurar y conectar dispositivos de estación base, que se utilizan para el seguimiento de la cabeza con el Valve Index original, el HTC Vive y algunos otros auriculares más antiguos.
El Quest 2 ha sentado un nuevo precedente en el mundo de los cascos de realidad virtual, donde debería ser posible una configuración simple, con un seguimiento que «simplemente funciona» sin ningún dispositivo adicional, por lo que es plausible esperar que Valve quiera igualar eso. en lugar de dejar que sus nuevos auriculares parezcan arcaicos en comparación con la competencia.

¿Deberías esperar al Valve Index 2?
Aunque todavía está en nuestra lista de los mejores cascos de realidad virtual, y por una buena razón, el Valve Index original ya lleva cinco años en el mercado y comienza a sentirse un poco desactualizado en términos de especificaciones, en comparación con opciones más baratas como el Quest 2.
Teniendo esto en cuenta, definitivamente vale la pena considerar esperar al Valve Index 2, en lugar de comprar un Valve Index de primera generación en 2023.
Sin duda, debería considerar esperar al Valve Index 2, que esperamos que sea un paso significativo por delante de su predecesor, en términos de especificaciones, características y simplicidad general.
by Albert Secreto | Abr 22, 2024 | Tecnología

En este artículo, aprenderá cómo conectar una de las gafas para porno en realidad virtual, el HP Reverb G2 a su computadora.
Necesario:
- HP Reverberación G2
- Computadora
- Cable de reverberación G2
Cómo conectar el HP Reverb G2 a una computadora:
- Encienda su PC con Windows y asegúrese de tener una conexión a Internet activa.
- Conecte las gafas a la PC mediante DisplayPort 1.3 y USB 3.0 del cable Reverb G2.
- Conecte el cable de alimentación.
- Encuentra el convertidor cuadrado en el medio del cable de las gafas.
- Conecte el cable de alimentación a este convertidor cuadrado para alimentar sus gafas.
- Cuando conecta HP Reverb G2, el Portal de realidad mixta debería iniciarse automáticamente. De lo contrario, también puede presionar la tecla de Windows y escribir «Puerto de realidad mixta»; seleccione la aplicación para iniciarla manualmente.
- Siga las instrucciones en su PC.
- Es posible que las gafas requieran algunas actualizaciones en este momento. Si es así, déjelos que se instalen.
- Configura tu espacio de realidad virtual. Seleccione el tipo de experiencia «Roomscale» o «Standing».
- Se le preguntará si desea utilizar el habla en realidad mixta. Una vez dentro de Cliff House, la configuración estará completa.
by Albert Secreto | Abr 21, 2024 | Tecnología

Sony anuncia que PSVR 2, una de las gafas para porno en realidad virtual, para PlayStation 5, será compatible con PC a finales de año.
En un artículo publicado en su blog, la compañía explica que actualmente se están realizando pruebas para que las gafas sean compatibles con PC: «También nos complace anunciar que actualmente estamos probando la posibilidad de que los jugadores de PS VR2 accedan a juegos adicionales en PC. para ofrecer una mayor variedad de juegos además de los títulos de PS VR2 disponibles en PS5. Esperamos que este soporte esté disponible en 2024, así que estad atentos para más actualizaciones «.
Hasta ahora, Sony se contentaba con responder que “la PSVR2 está creada para usarse con la consola PS5” cuando se mencionaba la compatibilidad con PC. Las gafas se pueden conectar, pero no son compatibles con plataformas como SteamVR, por ejemplo.
Para Sony y los jugadores, este soporte sería una buena manera de ampliar el catálogo de juegos, que sigue siendo extenso, especialmente en comparación con el catálogo de las primeras gafas, pero que aún necesita cartuchos grandes para justificar la compra (el PSVR 2 todavía cuesta 599 euros).